楼宇对讲机是安装在楼宇防盗门入口处的沟通、对讲控制装置。主机一般安装在各单元住宅门口的防盗门上 或附近的墙上,组成门口主机包括面板、底盒、操作部分、音频部分、视频部分、控制部分等。
楼宇对讲机面壳产品最大外形尺寸为 227.76 mm x 173.0 mm x 41.90 mm,塑件平均胶位厚度 2.50 mm,塑件 材料为 ABS,缩水率为 1.005,塑件质量为 111.35 克,塑件技术要求为不得存在披峰、注塑不满、流纹、气孔、 翘曲变形、银纹、冷料、喷射纹、气泡等各种缺陷。
从图 1 可以看出,塑件属于日用小家电类产品,外表呈光滑曲面。顶部局部存在下沉型圆弧面。此位置安放 对讲机听筒。下沉型圆弧面前端有两处凸起柱位,内有通孔,需前模滑块成型。塑件外形大曲面边缘有一圆柱, 内有通孔,且此孔在塑件内部需要设计斜顶成型。在塑件内部边缘设计了 3 条骨位,用来与产品底壳组装,这些 骨位全部需要设计内滑块(或斜顶)才能脱模。其中有一条骨位靠近需要斜顶脱模的内孔处,见图 1.
塑件顶面有 15 个按钮孔,在其背面设计有相对应的圆弧骨位为按钮导向。这些骨位在注塑时容易形成困气。 这些部位需要切割镶件排气。另一方面,这些部位必须具有高的加工精度,避免披锋影响按钮的功能。此外,按 钮部位骨位的脱模斜度需要注意,脱模斜度过大,按钮和孔的间隙过大,则按钮在运动中存在倾斜翻倒的可能性, 有可能出现卡滞的现象。按钮和孔德间隙过小,也会出现按钮卡滞的现象。因此,按钮和按键孔德间隙一定要选 择合理。
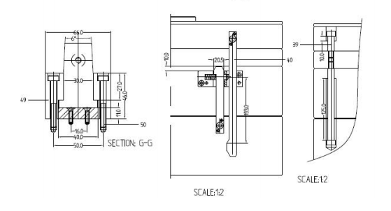
塑件尺寸较大,结构复杂,多处存在内滑块和前模滑块以及斜顶。模具设计型腔排位为 1 出 1,模架为标准 模架 DCI4045 A=100 B=120;采用标准细水口模架可以方便前模滑块抽芯,同时方便点浇口进胶。前后模仁的四 角采用虎口定位,确保模具合模准确。
塑件属于较大型外观件,在其顶面设计点浇口便于注塑成型。最理想的情形是将浇口设计在隐蔽位置,产品组 装后能够遮盖的位置。由于塑件较大,特别是 15 个按键孔的背面有较多的深骨位,塑料流动和充填困难,故设计 了细水口转大水口的浇注系统,即利用点浇口将熔融塑料射入到方孔中心后,再改成侧浇口两点进胶。流道系统
图 1 楼宇对讲机面壳产品图
设计参数见模具设计图 2。由于水口料在机嘴的一侧,为了拉料平衡,也便于储存冷料,在大机嘴的端部设计了 锥形倒扣拉料机构。见放大图 U。
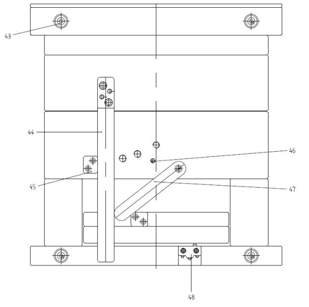
前模滑块采用 T 型槽驱动。内滑块采用铲机 33 驱动。塑件外形大曲面边缘有一圆柱,内有通孔,且此孔在 塑件内部需要设计斜顶成型。在此部位设计了后模滑块与斜顶对碰的模具结构。后模滑块与斜顶对碰的模具设计 时一定要细心观察二者的对碰形式,有无干涉,干涉量有多大,如何解决。本套模具的斜顶处于滑块底下,因此,需要设计先复位机构。滑块与斜顶干涉的各种情况及解决方式见图 3.









图 2 楼宇对讲机面壳产品模具图
图 3 滑块与斜顶干涉的各种情况