0 引言
通常在进行CFD计算时,首先要需要对研究对象做一定的简化,建立合理的物理模型,针对物理模型和计算的特点,合理划分网格。之后选取合适的数学模型,合理设置计算参数,才能得出较为精确的结果。检验选取的数学模型是否合适、网格划分是否合理,最直接的方法就是实验验证。而直接针对研究对象搭建等尺寸试验台,会造成不必要的浪费,因此为保证验证试验的准确性,需结合研究对象的特点,设计验证试验。
数值模拟验证实验的具体步骤如下:
(1)根据研究对象的特点,选取合适的数学模型,并将此数学模型应用于针对试验台的模拟中。
(2)针对研究对象,设计试验台。
(3)依据研究对象的运行工况,合理设计试验台实验工况。
(4)对比数值计算结果与实验结果,改进网格划分和计算参数。
本文以电厂天然气锅炉炉内燃烧数值模拟计算的实验验证为例,对此过程进行详细说明。
1 天然气锅炉概况
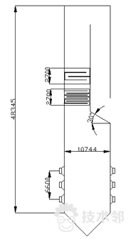
本文拟研究的锅炉为某电厂325MW塔式箱形天然气锅炉,为亚临界自然循环,采用一次中间再热。燃烧方式为前后墙对冲燃烧,燃料为天然气或渣油任意比例混合,本文只关注燃料为纯天然气的燃烧情况。整个锅炉为全悬吊结构,紧身封闭。炉架为全钢结构。结构简图如图1所示:

锅炉的主要参数如下表:
表1 锅炉主要额定参数
|
名称 |
单位 |
数值 |
|
主蒸汽流量 |
t/h |
1065 |
|
主蒸汽压力 |
MPa |
17.4 |
|
主蒸汽温度 |
℃ |
540 |
|
再热蒸汽流量 |
t/h |
882.8 |
|
再热蒸汽进/出口压力 |
MPa |
3.66/3.46 |
|
再热蒸汽进/出口温度 |
℃ |
324/540 |
|
给水温度 |
℃ |
271 |
主要燃料为100%天然气,主要成分如表2所示:
表2 天然气成分
|
化合物成分 |
体积百分比(%) |
|
N2 |
0.14 |
|
H2S |
0.0039 |
|
CO2 |
0.10 |
|
CH4 |
85.009 |
|
C2H6 |
9.97 |
|
C3H8 |
3.62 |
|
C4H10 |
1.007 |
|
C5H12 |
0.15 |
|
低位发热值/(kcal•m-3n-1) |
9997 |
燃烧器布置在炉膛水冷壁的前、后墙上,采用对冲燃烧型式,燃烧设备由油/气燃烧器、油点火器、气体点火器、大风箱及风门气动执行器组成。采用旋流燃烧器,共24只,前后墙各12只。分3层布置在大风箱上,其重量由前、后水冷壁承受,每只燃烧器均配有1个油点火器和1个气体点火器,点火方式为高能点火,每一种点火器分别能点燃两种燃料,每个燃烧器的配风均有1个气动执行器调节的挡板独立进风,进风量能够单独控制,正常运行时,24只燃烧器全部投运,若其中一只燃烧器发生故障时其余燃烧器仍能保证锅炉满负荷运行。锅炉燃烧方式既能单独燃油或气,又能油、气燃烧,但每只燃烧器只能供给一种燃料。燃烧器主要由燃油装置,燃气装置及调风器组成。
燃气装置主要由气枪及天燃气分配集箱组成,8根气枪均匀地布置在一个与燃烧器同心的圆周上,气枪的头部有径向、轴向喷孔。调风器由一次风管、二次风管、分级风管,一次风导筒及调节装置,二次风旋转器调节装置,分级风风门及其装置等组成。一次风在燃料着火之前与之混合,二次风是燃烧器主要供风部分,分级风可降低NOX的生成量,二次风管和分级风管中设有轴向旋流器,二次风旋流器可轴向移动,可形成部分直流风,从而达到调节旋流中强度之目的,一次风通过一次风滑动导筒位置进行调节。分级风旋流强度不可调。图2为燃烧器结构简图。
同一燃烧器的二次风及分级风旋转方向相同,相邻及相对两个燃烧器的二次风及分级风旋转方向均相反。图3为二次风旋流旋转方向示意图。

图2 燃烧器结构示意图 图3 二次风旋转方向示意图
2 数学模型的建立
电站锅炉的天然气燃烧包含流动,传热传质和众多的化学反应过程以及它们之间的相互作用,是一种剧烈的化学反应过程。实际燃烧过程中伴随的流动几乎全部是湍流过程,实际燃烧的化学反应多数为多步多组分反应。要对天然气锅炉的炉膛内燃烧进行数值计算,就必须对炉膛内的燃烧,流动和传热情况进行分析,作出正确描述,然后确定能够正确反映工程问题本质的数学模型,即封闭方程组,主要包括质量守恒、动量守恒、能量守恒以及对应的湍流方程组等。
(1)基本守恒方程
质量守恒方程,动量守恒方程,能量守恒方程,化学组分守恒方程。
(2)湍流流动模型的选取
本文所研究的天然气锅炉炉内的流动,雷诺数远大于临界雷诺数,因此为湍流状态。目前针对湍流的数值模拟方法主要分为直接数值模拟方法和非直接数值模拟方法。所谓直接数值模拟方法是指求解瞬时湍流控制方程。而非直接数值模拟方法就是不直接计算湍流的脉动特性,而是设法对湍流作某种程度的近似和简化处理。以来所用的近似和简化方法的不同,非直接数值模拟方法分为大涡模拟,统计平均法和Reynolds平均法。
直接数值模拟方法(direct numerical simulation,DNS)就是直接用瞬时的N-S方程对湍流进行计算。其最大的好处就是无需对湍流流动做任何简化或者近似,理论上可以得到相对准确的计算结果。但直接模拟方法对内存空间及计算速度要求非常高,目前还无法用于真正意义上的工程计算。大涡模拟(large eddy simulation,LES)是指用瞬时的N-S方程直接模拟湍流中的大尺度涡,不直接模拟小尺度涡,而小涡对大涡的影响通过近似的模型来考虑。然而大涡模拟虽然对计算机内存及CPU的要求比直接模拟方法要低,但仍然需要较高的计算机配置,目前在工作站和高档PC机上有小部分应用。统计平均法是基于湍流相关函数的统计理论,主要用相关函数及谱分析的方法来研究湍流结构,统计理论主要涉及小尺度涡的运动。这种方法由于存在一定的局限性,在工程上的应用不很广泛。目前工程上应用较广泛的是Reynolds平均法(RANS)。因此本文采用此方法进行数值计算。
Reynolds平均法的核心是不直接求解瞬时的N-S方程,而是想办法求解时均化的Reynolds方程。这样不仅可以避免直接数值模拟放法的计算量大的问题,而且对工程实际应用可以取得很好的效果。Reynolds平均法是目前使用最为广泛的湍流数值模拟的方法。
雷诺时均方程是将非稳态的N-S方程对时间作平均,使用时均量来代替瞬时量,不需要直接求解瞬时N-S方程,这样就避免了直接数值模拟中存在的计算量巨大的问题。应用此原理,把变量的时均值和脉动值代入质量守恒方程、N-S方程以及能量守恒方程,引入直角坐标张量符号形式,并用分别代表流体在三个坐标方向的速度分量,得到不可压缩流体的时均控制方程,必须找出确定附加项的关系式即所谓的湍流模型,才能求解雷诺时均方程。
所谓的湍流模型实际上就是使方程组封闭的模型,根据对雷诺应力作出的假设或处理方式不同,常用的湍流模型又分为雷诺应力模型和涡粘模型。雷诺应力模型指直接构建表示雷诺应力的方程,然后对方程组联立求解。本文主要应用涡粘模型,也就是湍流粘性系数法,其原理是不直接处理雷诺应力项,而是引入湍动粘度(turbulent viscosity),把湍流应力表示成湍流粘性系数的函数,计算湍流流动的关键就在于如何确定,根据确定的微分方程数目的多少,又可分为零方程模型、一方程模型、双方程模型。
所谓零方程模型是指不使用微分方程,而是使用代数关系式,把湍动粘度与时均值联系起来的模型。只是用湍流的时均连续方程和雷诺方程组成方程组,把方程中的雷诺应力用平均速度场的局部速度梯度来表示。零方程模型中最著名的是混合长度模型(mixing length model),其优点是直观简单,对于带有薄的剪切层的流动比较有效,但只有在简单流动中才比较容易给定混合长度的值,对复杂的流动则很难确定,而且不能用于模拟带有分离及回流的流动,因此零方程模型在实际工程中很少使用。所谓一方程模型是在零方程模型的基础上再建立一个湍动能k的输运方程,而表示成k的函数,从而使方程封闭。由于一方程模型考虑到湍动的对流输运和扩散输运,因而比零方程模型更为合理,但是对于如何确定长度比尺仍为不易解决的问题,因此也很难得到推广应用。目前工程上应用较广的是双方程模型。
最基本的双方程模型是标准K-e模型,也是目前使用范围最广的双方程模型,标准模型克服了一方程模型中需要用经验方法确定长度标尺的缺点,改为通过求解微分方程来得到长度标尺的值。本文采用的标准模型控制方程组包括连续性方程,动量方程,能量方程,k方程,ε方程与定义式。考虑传质及化学变化的情况,还要加上组分方程。这样就构成本文所用的湍流模型方程组。
(3)湍流燃烧模型的选取
迄今所提出的湍流燃烧模型,按其所用的模拟假设和数学方法,大致可分为四大类,即相关矩封闭法,统计分析法,基于湍流混合速率的方法和基于湍流火焰结构几何描述的方法。目前在电厂锅炉的燃烧数值计算中,较为常用的是统计分析法及基于混合速率的方法。统计分析法在电厂锅炉燃烧数值计算中最为常用的是混合分数一概率密度函数模型(Mixture Fraction/PDF), 虽然几率分布函数的输运方程模型对于简单的湍流火焰计算的结果与实验基本相符,但在数值计算中对于计算机的存储量和所需的计算时间要求很高,因此在工程上应用较少。在电厂的锅炉燃烧情况下,决定燃烧反应速率的最主要因素为湍流混合作用,因此本文采用基于混合速率的湍流燃烧计算方法。混合速率法中最有代表性的三种模型为:涡团破碎模型(Eddy Break Up),拉切滑模型(Stretch-cut-and-slide Model)以及涡团耗散模型(Eddy Dissipation Model)。
早在1971年Spalding就提出了旋涡破碎模型(Eddy Break Up)。它的基本思想是:把湍流燃烧区域考虑成未燃气微团和已燃气微团的混合物,化学反应在这两种微团的交界面上发生,化学反应速率取决于未燃气微团在湍流作用下破碎成更小微团的速率,破碎速率与湍流脉动动能衰变的速率成正比。为了进一步考虑动力学对反应控制的情况,在上面模型的基础上又发展了EBU-Arrhenius模型,该模型在预混燃烧的模拟中曾得到了很多的应用。EBU-Arrhenius模型突出了湍流混合对燃烧速率的控制作用,并且简单直观,其缺点是该模型低估了分子输运和化学动力学因素的影响,一般只适用于高雷诺数的湍流燃烧过程。
针对旋涡破碎模型的不足之处,Spalding在1976年提出了所谓的“拉切滑模型”(Stretch-cut-and-slide Model)。它的基本思想是:第一,在预混火焰中充满着包括不同比例的未燃气和已燃气的微团,微团内部的这种不均匀性的尺度在湍流作用下不断被反复进行的拉伸、切割和滑动而有所减小;第二,在微团内部的已燃气和未燃气的交界面上存在着火焰,它以相应的层流火焰传播速度向未燃部分传播。拉切滑模型引入了拉伸作用和层流火焰传播速度对湍流燃烧速率的影响,是对旋涡破碎模型的发展。它与旋涡破碎模型一样定量地描述了流动因素在高雷诺数湍流燃烧中的控制作用,形式比较简单,它们的主要不足是忽略或未能恰当的考虑分子输运和化学动力学因素的作用,没有给出湍流和化学反应相互作用的物理图案,没有体现湍流脉动的统计特征。同时,这种思想无法解决复杂化学反应的计算,因为湍流对每一个基元反应的正逆反应率的影响不会相同,而通过设想和分析找到多个反应速率的模拟表达式几乎是不可能的。
1976年,Magnussen提出涡团耗散模型(Eddy Dissipation Model)。其基本思想是:当气流涡团因耗散而变小时,分子之间碰撞机会增多,反应才容易进行并迅速完成,故化学反应速率在很大程度上受湍流的影响,而且反应速率还取决于涡团中包含燃料、氧化剂和产物中浓度值最小的一个。该模型的特点是意义比较明确,反应速率取决于湍流脉动衰变速率ε/k,并能自动选择成分来控制速率,因此该模型既能用于预混火焰,也能用于扩散火焰,本文正是采用了这种模型
该模型的特点是意义比较明确,反应速率取决于湍流脉动衰变速率ε/k,并能自动选择成分来控制速率,因此该模型既能用于预混火焰,也能用于扩散火焰,本文正是采用了这种模型。
(4)辐射换热模型的选取
对许多燃烧过程,辐射是主要的能量传输方式。因此,燃烧的数值模拟中辐射换热是非常重要。在一个典型的天然气燃烧炉内,辐射主要包括主要是CO2和H2O两方面。为了准确计算辐射换热量,选择合适的数学模型是至关重要的。
在本文所使用的软件FLUENT中共提供了五种辐射模型,离散传播辐射模型(DTRM),P1辐射模型,Rossland辐射模型,离散坐标辐射模型(DO),表面辐射模型(S2S)。本文综合考虑了各个辐射模型的适用范围以及现有计算机的计算能力,选用了P-1辐射模型。P-1法是最简单的一种球谐函数法,它假定介质中的辐射强度沿空间角度呈正交球谐函数分布,并将含有微分、积分的辐射能量传递方程转化为一组偏微分方程,联立能量方程和相应的边界条件便可以求出辐射强度和温度的空间分布。与DO法相比,P-1法考虑了辐射散射的作用,更适用于光学厚度大和几何结构复杂的燃烧设备,并且求解辐射能量方程所需要的时间短,比较适合求解电厂锅炉中的燃烧。国内外的研究者在模拟电厂锅炉燃烧时多用此模型。
3 试验台设计与搭建
本文在已有燃烧试验台基础上进行改造,搭建U型管天然气富氧燃烧系统。
(1)实验系统简介
本文所用实验系统U型管燃烧室两端分别用法兰盘结构进行密封连接。设计容积热负荷为864MJ/(m3.h)。主要包括包括U型管燃烧室及管路系统两部分。实验的系统图和实物图下图。


U型管燃烧室由直径200mm,长3m的无缝钢管焊接而成,炉膛容积为0.1m3外面覆盖玻璃丝棉及石棉布保温层。在U型燃烧室的特征部位设有热电偶测温管道,管道顶端可与热电偶丝扣连接,保证燃烧室的气密性。在U型管的两端设有观火孔和点火孔,观火孔外套石英玻璃,可观察燃烧室内的燃烧情况。天然气主要通过天然气喷嘴由U型管一端送入燃烧室,天然气喷嘴外套旋流板,旋流板上以天然气喷嘴为圆心分布有八个方向向外的小孔,助燃空气通过这八个小孔进入燃烧室,形成沿炉膛内壁分布的旋流,并在天然气喷嘴处形成烟气回流区,卷吸高温烟气回流以促进天然气充分燃烧,如下图所示。

管路系统包括燃气管路系统,助燃空气管路系统,氧气管路系统及排烟系统四个部分。燃气管路系统采用罐装天然气,通过燃气减压阀及膜式燃气表送入炉膛,各段管路均设有阀门,可控制燃气流量。助燃管路系统通过使用旋涡式小流量高压鼓风机提供助燃空气,额定流量为130m3/h,并在鼓风机出口设一排气管,用来控制进入炉膛的空气量。氧气管路系统提供氧气时,氧气途经氧气减压阀,橡胶管及球阀,与助燃空气均匀混合,一起送经过流量计最终送入炉膛。排烟系统主要由锅炉通风机和排烟管道组成,锅炉通风机型号为56-41-11,流量为1043-403m3/h,全压451-1151Pa,功率为550W,可以使整个燃烧系统内呈负压状态,将燃烧过后的烟气排除系统,保证实验系统的安全运行。
所用燃料为北京地区天然气,气体成分如下
天然气成分表
|
化合物成分 |
体积百分比(%) |
|
N2 |
1.0 |
|
CH4 |
98.0 |
|
C2H6 |
0.3 |
|
C3H8 |
0.3 |
|
C4H10 |
0.3 |
(2)实验数据的采集
实验数据的采集主要包括流量采集系统,温度采集系统和气体组分采集系统三部分。
一流量采集系统。天然气的流量利用膜式燃气表及秒表确定;助燃气体的流量由玻璃转子流量计读出,流量计型号为LZB-40,量程6-60m3/h。
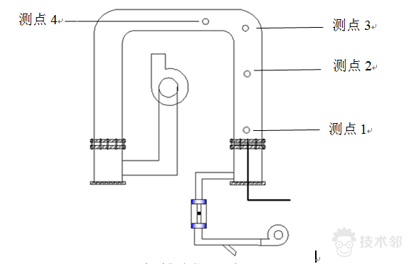
二温度采集系统。主要由K型热电偶及902C型数字温度表组成。分别针对四个特征点进行测量。温度采集系统运用水银温度计进行标定,同时插入到同一杯热水中,对比数字温度表与温度计的度数。最终得出本文所用系统误差在3℃以内。

温度采集点主要集中在燃烧区域,一共取四个测点。测点1和测点2距离天然气喷口分别为0.05m和0.5m,测点3位于U型管火管转弯处,测点4位于转弯之后。测点位置示意图见图

三气体组分采集系统。
采用美国产EX200O烟气成分分析仪对助燃气体中的氧气浓度以及燃烧产生的烟气组分进行检测。测量时将烟气分析仪的测量枪插入转子流量计后的测控中,由于整个实验系统内为负压状态,为防止测孔内漏入空气影响测量的准确性,在测量时将测量枪与测孔之间的空隙堵实。

四壁面温度采集。采用红外线测温仪对炉膛内壁的壁面温度进行测量。由于炉膛结构所限,在进行实验过程中对炉膛壁面温度的测量比较困难,因此只能在炉膛熄火后迅速打开观火孔,使用红外线测温仪对炉膛壁面温度进行进行测量,整个过程在短时间内进行,尽量避免由于熄火后炉膛冷却所产生的测量误差。
4 实验方案设计
实验工况划分
为了保证实验的准确性,将分为四组工况进行。保持天然气流量不变,过量氧气系数保持为1.2,将助燃气体中的氧气浓度划分为四种。
实验工况划分
|
工况编号 |
过量氧气系数α |
氧气浓度
|
|
L1 |
1.2 |
21 |
|
L2 |
1.2 |
24 |
|
L3 |
1.2 |
27 |
|
L4 |
1.2 |
30 |
5 针对试验台进行数值模拟对比实验结果
(1)模型简化及网格划分
针对实验系统建立物理模型,模型尺寸基本遵从原实验系统尺寸,壁面采用无壁厚壁面。炉膛内壁温度根据实测值定为350℃。然后针对所建立物理模型划分网格,采用四面体网格,整个计算域网格数为26万。

(2)数值计算结果与实验结果对比
一 氧气浓度为21%时

二 氧气浓度为24%时

三 氧气浓度为27%时

四 氧气浓度为30%时

中可以看出,数值模拟与实验所得结果趋势基本一致,最高点均出现在测点1,最低点出现在测点4,测点2和测点3的数值比较接近。
由图中也可以看出,模拟值与实验值之间存在一定的偏差,衡量模拟值与实验值之间偏差的公式为:(模拟值-实验值)/模拟值,可以得到各测点的偏差
模拟值与实验值偏差
|
氧气浓度% |
偏差值% |
|||
|
测点1 |
测点2 |
测点3 |
测点4 |
|
|
21 |
11% |
11% |
12% |
14% |
|
24 |
7% |
10% |
12% |
13% |
|
27 |
8% |
9% |
11% |
11% |
|
30 |
8% |
9% |
10% |
13% |
由表中可以看出,所有测点的偏差保持在14%以下,属于工程上所能接受的误差范围内。分析偏差出现的原因,主要有以下几点:
(1)在进行数值计算研究时认为炉膛内的燃烧状态为稳态,也就是认为实验进行的时间足够长,直到燃烧稳定为止,而在进行实验时考虑节省天然气,没有使燃烧进行足够长的时间。
(2)在进行数值计算研究时,火管部位只考虑了辐射换热,忽略了对流换热作用,并且认为火管壁温相同,因此造成了模拟计算值比实验值高。
(3)在进行实验研究时,由于炉膛为法兰连接,并且在测量过程中测温孔和观火孔存在少许漏风现象,在进行数值计算研究时未能考虑在内,因此造成实验值比模拟计算值要低。
经过对模拟计算结果与实验结果的对比可知,数值模拟结果基本符合实际情况,应用所选数学模型对电厂天然气锅炉富氧燃烧进行数值计算能够得到较为符合实际的预测结果。