来源:北京科技大学课件
版权归原作者所有
一、概述

二、锚杆类型
边坡工程中使用的锚杆是一种安设在岩土层深处的受拉杆件,其一端与工程构筑物相连,另一端锚固在岩土层中,必要时需对其施加预应力,以承受岩土压力、水压力或风荷载等所产生的拉力,再将拉力传递到深部稳定岩土层中,达到有效承受结构荷载及防止边坡变形失稳的目的。


预应力是人为对锚杆施加的张应力,从而对边坡施加主动压力。因此,预应力锚杆不同于非预应力锚杆,后者只有当岩土体产生变形时才承受张力,且张力随位移增大而增大,故这种张力主要只对变形体起悬吊作用。所以, 预应力锚杆属于主动加固措施,而非预应力锚杆属于被动加固措施。 在边坡锚固工程中,前者比后者应用更为广泛。
工程上常按以下方法分类:
(2) 按 是否预先施加应力 划分,包括预应力锚杆、非预应力锚杆;
(3) 按 锚固机理 划分,包括黏结式锚杆(水泥砂浆锚杆、树脂锚杆)、摩擦式锚杆(缝管式、水胀式及楔缝式锚杆)、端头锚固式(机械式)锚杆和混合式锚杆;
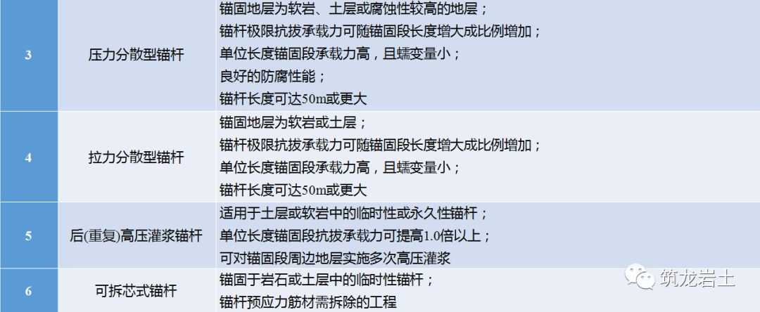
(4) 按 锚固体传力方式及荷载分布条件 划分,包括压力型锚杆、拉力型锚杆、压力分散型锚杆和拉力分散型锚杆;
(5) 按 锚固部分大小 划分,包括全长锚固式锚杆和端部锚固式锚杆;
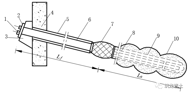
(6) 按 锚固体形态 划分,包括圆柱型锚杆、端部扩大型锚杆和连续球型锚杆。
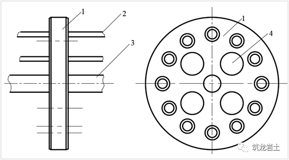
圆柱型锚杆

端部扩大型锚杆

连续球型锚杆

压力型锚杆 指受力时锚固段注浆体处于受压状态的锚杆,其主要特点是利用承载体使锚杆受力时 锚固段浆体受压 ,并通过浆体将拉力传递至周围地层,防腐性能较好,但由于注浆体承压面积受到钻孔直径的限制,故不能得到高承载力的锚杆。

主要包括 拉力分散型锚杆 和 压力分散型锚杆 两种,其工作时能充分利用地层固有强度,其承载力随锚固段长度增加成比例提高。

拉力分散型锚杆

压力分散型锚杆

三、锚杆结构
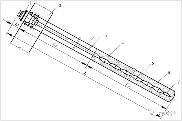
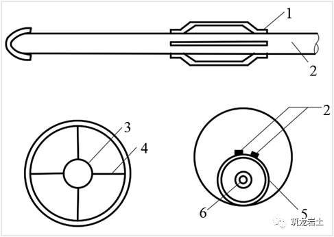
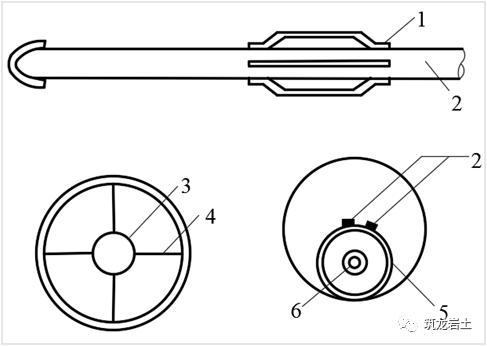
锚杆一般由锚头、杆体(拉杆)及锚固体(段)三个基本部分组成。

锚头
杆体
锚固体
锚索是高承载力的锚杆,其强度、锚固深度、单锚锚固力均较大。锚杆主要处于张拉状态,剪切次之,一般不能承受弯曲作用, 而锚索只存在张拉状态。
类似地,锚索结构也可分为三个主要部分,即锚头、锚索体和锚固体。其中,锚头由垫板、锚环、锚塞和混凝土墩组成,锚索体由高强度钢丝、钢丝束或钢绞线制成,锚固体主要包括定位环、止浆塞、扩张环及导向帽等。

四、锚固作用机理
悬吊作用机理

组合梁作用机理

挤压加固作用机理

五、锚固要素分析
锚杆基本力学参数
2) 握裹力:锚杆杆体与黏结材料间的最大抗剪力。
3) 黏结力:锚杆黏结材料与孔壁岩土间的最大抗剪力。
4) 拉断力:锚杆杆体的极限抗拉能力。
砂浆锚固传力过程

1) 锚固段砂浆对杆体的握裹力需能承受极限应力;
2) 锚固段砂浆对地层的黏结力需能承受极限应力;
3) 锚固段周围岩土体在最不利条件下仍能保持 整体稳定性。
典型破坏形式
√沿砂浆与地层的接触面破坏
√锚杆杆体受拉断、
√锚固段砂浆体剪切破、
√锚固段地层(土层或破碎岩体)剪切破坏
锚杆受力时,沿锚固段全长的黏结应力分布极不均匀:
-
当锚固段较长时,初始荷载作用下,黏结应力峰值在临近自由段处,而锚固段下端的相当长度上,则不出现黏结应力;
-
随着荷载增大,黏结应力峰值向锚固段根部转移,但其前方的黏结应力则显著下降;
-
当达到极限荷载时,黏结应力峰值传递到接近锚固段根部,在锚固段前部较长的范围内,黏结应力值进一步下降,甚至趋近于零。
因此,能有效发挥锚固作用的黏结应力分布长度是有一定限度的,随锚固段长度的增加,平均黏结应力逐渐减小。

锚固段砂浆对杆体的握裹力

锚固段砂浆对孔壁的黏结力

六、锚固设计计算
基本要求

设计流程

边坡锚固力计算
-
对可能产生圆弧滑动的锚固边坡,宜采用简化毕肖普法、摩根斯坦-普赖斯法或简布法计算,也可采用瑞典法计算;
-
对可能产生直线滑动的锚固边坡,宜采用平面滑动面解析法计算;
-
对可能产生折线滑动的锚固边坡,宜采用传递系数隐式解法、摩根斯坦-普赖斯法或萨玛法计算;
-
对岩体结构复杂的锚固边坡,可配合采用赤平极射投影法进行分析。
当边坡存在一组出露于坡面的软弱结构面,其走向与坡面走向近似,倾角小于坡面倾角、但大于弱面的内摩擦角,边坡易产生单平面破坏,多出现在岩质边坡中,通常分为坡顶有拉裂缝和无拉裂缝两种情况。但大多数单平面破坏边坡在破坏前坡顶会出现不同程度的拉裂缝。













锚杆布设原则上应根据实际地层情况以及锚杆与其它支挡结构联合使用的具体情况确定,必须充分了解边坡的地质状况,确定边坡变形破坏的模式后,才能决定锚杆布设位置。 锚杆布设的总体原则是对边坡滑体产生最佳的抗滑效果 ,一般应满足以下基本要求:
(1) 锚杆间距和长度,应根据锚固工程周围地层的整体稳定性确定。
(2) 锚杆间距除必须满足锚杆的受力要求外,还应大于1.5m ,以避免因群锚效应而降低锚固力。当所采用的间距小于1.5m时,应将相邻锚杆的倾角调整至相差3°以上。
岩土锚杆通常是以群体的形式出现的,若锚杆布置较密集,地层中受力区的重叠会引起应力叠加和锚杆位移,从而使锚杆极限抗拔力不能有效发挥,即 群锚效应 。锚杆极限抗拔力会因群锚效应而减小,群锚效应与锚杆间距、直径、长度及地层形状等因素有关。
(3) 锚杆与相邻基础或地下设施间的距离应大于3.0m。
(4) 锚杆锚固段应在潜在滑面以外的稳定岩土体内,且上覆土层厚度不宜小于4.5m ,避免坡顶反复荷载的影响,同时不会因较高注浆压力而使上覆土层隆起。
(5) 根据锚杆的作用原理,对于不同类型工程,锚杆倾角是不同的,确定锚杆倾角应有利于满足工程抗滑、抗塌、抗倾或抗浮的要求。但就控制注浆质量而言,若锚杆倾角过小时,注浆料因泌水和硬化而产生的残余浆渣会影响锚杆的承载力,故 锚杆倾角宜避免与水平面成-10°~+10°的范围,10°范围内锚杆的注浆应采取保证浆液灌注密实的措施。
(6) 为使钢绞线间有适宜的间距,保证钢绞线被足够的水泥浆所包裹,以满足钢绞线与注浆体间黏结强度的要求,锚杆钻孔直径应满足锚杆抗拔承载力和防腐保护要求,压力型或压力分散型锚杆的钻孔直径尚应满足承载体尺寸的要求。
(7) 预应力锚杆的布置间距应根据边坡地层性态、所需提供的总锚固力及单锚承载力设计值确定。 一般条件下,I、II、III类岩体边坡预应力锚杆间距宜为3.0~6.0m,IV类岩体及土质边坡预应力锚杆间距宜为2.5~4.0m。
(8) 锚杆的布设角度,对基坑或近于直立的边坡而言,需考虑邻近状况、锚固地层位置及施工方法。 一般锚杆的倾角不小于13°,也不应大于45°。 倾角愈大,抵抗滑体滑动的能力将相应地减弱,故锚杆布设角以15~35°为宜。
对 倾倒破坏 的边坡,预应力锚杆的设计 布设角度宜与岩体层理面垂直。 对滑动破坏的边坡,预应力锚杆的布设角度应发挥锚杆的抗滑作用 ,在施工可行条件下,锚杆倾角宜按下式计算:

当边坡失稳模式为倾倒破坏时,应将锚杆布置在潜在倾倒体的中、上部;
当存在软岩层或风化带,可能导致边坡变形破坏时,锚杆应穿过软岩层或风化带布置,并采用混凝土锚固墩封闭。


(1) 锚杆杆体截面面积
预应力锚杆结构的设计计算主要包括三个方面,即: 锚杆杆体的抗拉承载力计算、锚杆锚固段注浆体 与 杆体的抗拔承载力计算 、以及 注浆体与地层间的抗拔承载力计算 。一般而言,前者用以确定锚杆杆体的截面面积,后两者则用于确定锚杆锚固段长度。此外,对于压力型或压力分散型锚杆,还应进行锚固段注浆体横截面的受压承载力计算。


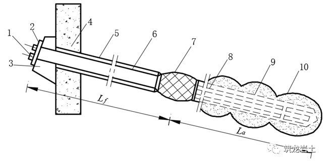
(3) 锚杆自由段长度
锚杆自由段长度应根据锚杆与滑面、边坡坡面的交点间距确定。若锚杆自由段长度过短,对锚杆施加初始预应力后,锚杆的弹性位移较小,一旦锚头出现松动等情况,可能会造成较大的预应力损失,因此 锚杆自由段长度一般不应小于5.0m 。此外, 自由段应穿过潜在滑面至少1.5m,并将锚固段布设于合适的地层内 ,以保证锚固系统的整体稳定性。
锚杆杆体对中器的主要作用包括两方面:①杆体处于锚固体砂浆中部,当杆体受力时,锚固体能均匀受力;②杆体周围砂浆厚度均匀且满足防腐要求。


表层为土层或软弱破碎岩体的边坡,宜采用框架梁型钢筋混凝土传力结构;I、II类及完整性好的III类岩质边坡宜采用墩座或地梁型钢筋混凝土传力结构;有条件时应优先采用预制的传力结构。设置预制式传力结构可最大限度地缩小开挖面的裸露面积与裸露时间,有利于保护开孔后岩土体的固有强度和自稳能力,增强边坡的整体稳定性,并可显著缩短边坡的建设周期。


锚固系统有多种破坏形式,设计时必须仔细校核各种可能的破坏形式。因此,除锚杆抗拉力应满足设计要求外, 还必须验算锚杆和边坡岩土体组成的锚固系统整体稳定性。 锚固系统的外部稳定性可采用圆弧滑动法或折线滑动法验算;内部稳定性可采用Kranz法验算。
END
本微信公众平台交流和研究的范畴如下。
软件领域:MAPGIS、AUTOCAD、CASS、ARCGIS、MapInfo、Global Mapper、Photoshop、Surfer、grapher、ERDAS、envi、MICROMINE、DIMINE、3DMINE、CorelDRAW、Surpac、DGSS、CGIS、苍穹、理正等软件学习交流及提高。
专业领域:地质、物探、化探、测绘、土地、复垦、水文、环评、岩土工程勘查、稳定性分析、地质灾害评估、设计、施工图、林业、土石方计算、数据成图、矢量化、三维立体、效果图、论文图件等专业领域的探讨。
其他领域:高精度无偏移影像下载、矫正、处理,文字识别、录入、信息采集、数据库录入、各软件无缝转换、投标等领域的学习交流。
微信公众号:CXGIS1533310474
编辑微信号:CX15616506143
业务QQ:1533310474
添加小编微信,邀请您加入微信群。
感觉文档不错,请转发并点赞。
微信公众平台转发,请联系平台编辑。
授人以鱼不如授人以渔
知识学习,知其然,更要知其所以然
来源:筑龙岩土,感谢提供,不代表本平台观点。
免责声明:遵循微信公众平台关于保护原创的各项举措。推送文章可能未能事先与原作者取得联系,或无法查证真实原作者,若涉及版权问题,请原作者留言联系我们。经核实后,我们会及时删除或者注明原作者及出处。感谢原作者。
请点击“阅读原文”查看详细技术文章,觉得文章不错,请点赞分享

目前100000+人已关注加入我们